SPR

Balksko med justerbar lutning

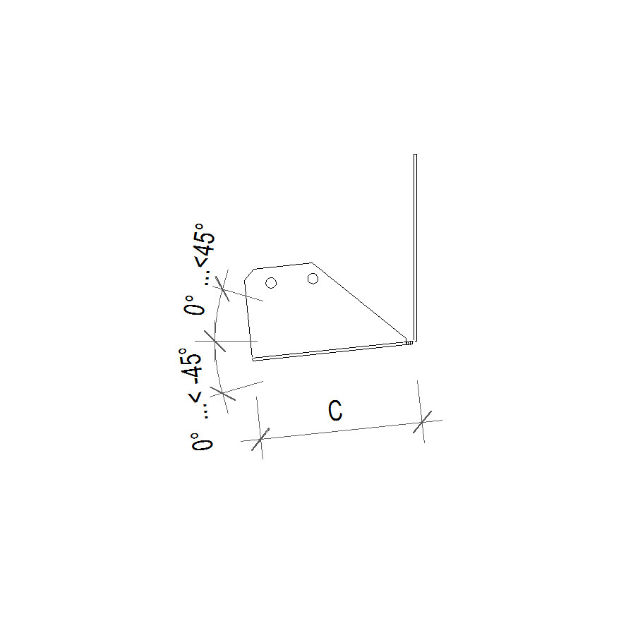
SPR är en justerbar balksko för trä mot trä applikationer. Balkskon kan justeras mellan 0-45° och är lämplig för träreglar som ej monteras i samma plan, till exempel ett vagnstycke till en trappa. Balkskon bör endast justeras en gång och monteras med CNA ankarspik alternativt CSA ankarskruv.

Förutom standardstorlek 45/120 levereras SPR balksko också som specialbeslag i storlekar från 38/100 till 140/400.

CE-märkt
Tekniskt avtal
Användningsklass 2
Electrogalvanized steel 20 µm
EPD

Produktinformation

Egenskaper

Material

  • Stålkvalitet:
    Galvaniserat stål S250GD + Z275 enligt EN 10346

Fördelar

  • Kan monteras med lutning 0–45 grader
  • För takstolar/sparrar
  • Kan monteras med spikar/bultar
  • Övriga storlekar tas fram efter beställning
  • Justerbar i förhållande till taklutning
  • Kan monteras på trä och betong

Applikationer

Monteras på

 

  • Bärande element: massivt trä, kompositträ, limträ, betong, stål.
  • Buret element: massivt trä, kompositträ, limträ.

 

Användningsområden

  • Bjälkar,
  • Takstolar,
  • Slätbalkar...

Teknisk data

Dimensioner

Mått

Art. nr. Sekundärbalk storlek [mm] Mått [mm] Hål HB Hål SB Antal per förpackning Vikt [kg]
Bredd Höjd A B C D F t Ø5 Ø5
Min. Max Min. Max
SPR45/1204345--451207543781.596200.29

Den nedersta delen av balkbeslaget får endast böjas en gång längs den önskade vinkeln α.
HB = huvudbalken
SB = sekundärbalken

Karakteristisk bärförmåga - Balk-balkfogningar

Art. nr. Utspikning Karakteristisk bärförmåga [kN]
HB SB R1.k R2.k
- - CNA 4,0X40 CNA 4,0X40
SPR45/120965.43.3

  

Montage

Montage

Anslutningar

Huvudbalk:
Trä: CNA ankarspik 4.0x40 mm

Sekundärbalk:
CNA ankarspik 4.0x40 mm

Installation

  • Varmförzinkat
  • Stålkvalitet 5.8

Certifiering

European Technical Assessment (ETA)

Buy from Distributor

No items available.

Contact

Simpson Strong-Tie Sverige

Simpson Strong-Tie AB

Bruksvägen 2
59375 Gunnebo
Sverige