L-PB

Design Series L järn

L järn används till förankring av regel och överliggare på stolpe.

Användningsklass 3
Outdoor
RAL 9005
EPD

Produktinformation

Egenskaper

Material

  • Stålkvalitet:
    Galvaniserat stål S250GD + ZPRO
     
  • Korrosionsskydd:
    ZPRO ytbehandling motsvarande en zinktjocklek på cirka 55 μm
    Svartlackering RAL 9005

Benefits

  • Ökar hållfastheten i balk-pelarförbindelser,
  • Gör pergolor, markiser och andra lätta konstruktioner mer tillförlitliga där änden av en balk stöds av en stolpe,
  • Enkel att installera med svarta SSH-PB-skruvar,
  • Hög korrosionsbeständighet för användning under förhållanden i serviceklass 3,
  • Svartlackering: diskret...

Applikationer

Support

  • Huvudbalk: Massivt trä, kompositvirke, limträ
  • Bjälklag: Massivt trä, kompositträ, limträ

For use with

  • Balkar

Teknisk data

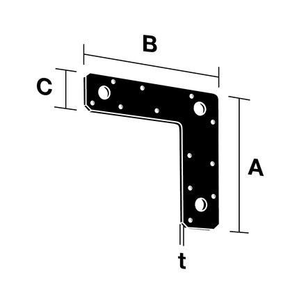
Dimensioner

Mått

Art. nr. Mått [mm] Hål Vikt [kg]
A B C t Ø5 Ø8,5 Ø10
L150PB150150402103-0.16

Montage

Montage

Fasteners

  • Black head screw SSH8.0X40PB

Installation

  • För standardträprofiler från 90x90 mm till 200x200 mm

Certifiering

Nedladdningar

ZIP-paket

Buy from Distributor

No items available.

Contact

Simpson Strong-Tie Sverige

Simpson Strong-Tie AB

Bruksvägen 2
59375 Gunnebo
Sverige