C1 - C5

Bulldog® - Dubbelsidiga brickor

Bulldog-brickor används till förstärkning av bultade infästningar i träkonstruktioner.
Tvåsidiga brickor används uteslutande i trä/träinfästningar, medan enkelsidiga brickor också kan användas i infästningar mellan stål och trä.
Bulldog-brickor är tillverkade enligt EN912, där produkternas tillfredsställande geometri framgår. För enkelsidiga brickor ska det invändiga hålets diameter passa till bultdiametern. För de tvåsidiga brickorna är detta inte nödvändigt, d.v.s. det kan användas olika bultdiametrar i ett mellanlägg. Borrdiametern för bulthålet i träet får som högst vara 1 mm större än bultdiametern.
Angående minsta inbördes avstånd, kant- och ändavstånd för mellanläggen hänvisas till tabell 8.8 i Eurokod 5.

CE-märkt
Användningsklass 3
Outdoor
Hot Dip Galvanized
EPD

Produktinformation

Egenskaper

Material

  • HC340LA
  • Bulldog-brickor är gjorda av HC340LA och varmförzinkade på normalt 50 μm. De kan därför användas i korrosiv miljö.

Fördelar

  • Bulldog-brickor förstärker bultars och franska skruvars bärförmåga i sidoträ- och kantträsskarvningar

Applikationer

Monteras på

  • Trä

Användningsområden

  • Används till att förstärka bultars och franska skruvars bärförmåga i sidoträ- och kantträsskarvning

Discontinued Products

Teknisk data

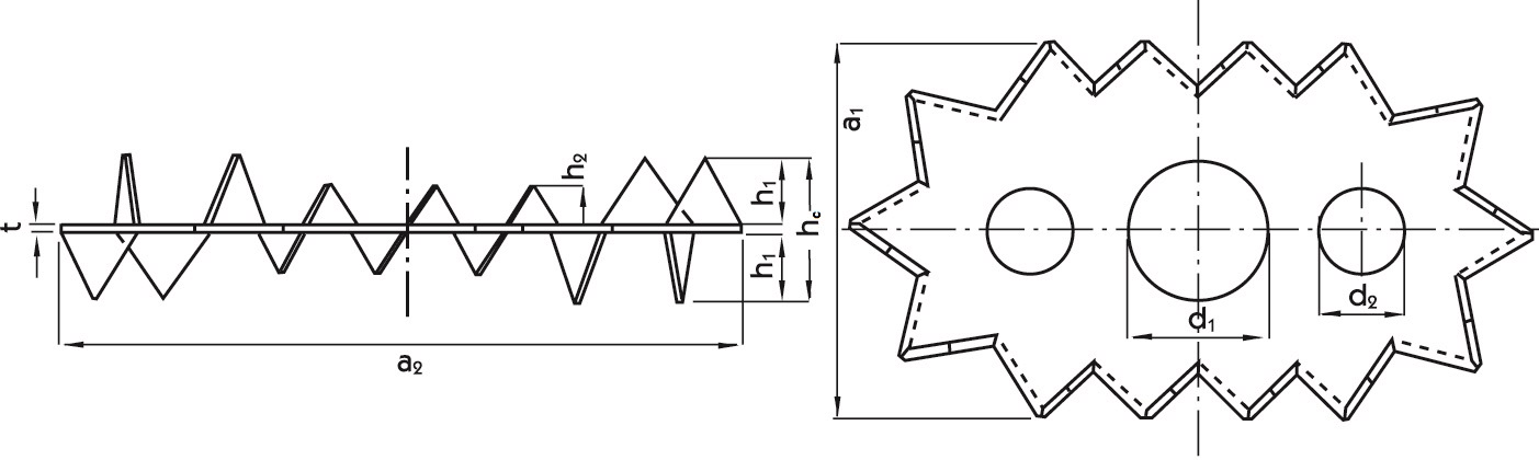
Dimensioner

Dimensioner - C1

Art. nr. Typ DB nr. NOBB nr. Mått [mm] Antal per förpackning
Ø Höjd Tjocklek
Utvändig Hål Tänder Total t
dc d1 h1 hc
C1-50C158045534391060650176131200
C1-62G-BC182714132479395262217.4161.2100
C1-75G-BC182714212479396075269.119.51.3100
C1-95G-BC1827143924793978953311.3241.440
C1-117G-BC18977548247939941174814.3301.525

Dimensioner - C3

Art. nr. Typ DB nr. NOBB nr. Mått [mm] Antal per förpackning
Ø Höjd Tjocklek a1 [mm] a2 [mm]
Hål Sekundära hål Tänder Total t
d1 d2 h1 hc
C3-73/130G-BC3897757124794018261613.3281.57313050

Dimensioner - C5

Art. nr. Typ DB nr. NOBB nr. Mått [mm] Antal per förpackning
Ø Höjd Tjocklek
Utvändig Hål Tänder Total t
dc d1 h1 hc
C5-100G-BC5897755524793986100407.3161.450
C5-130G-BC5897756324794000130529.3201.525

Minimum kantavstånd och karakteristisk bärförmåga

Art. nr. Typ Vald timmertjocklek Min. avstånd Karakteristisk skjuvning förmåga
t1 [mm] t2 [mm] Avstånd parallellt med fiberriktning Avstånd vinkelrätt mot fiberriktning Belastet ände Ubelastet ände Belastet kanten Ubelastet kanten Rv,k [kN]
a1 α=0° [mm] a2 [mm] a3.t [mm] a3.c α=90° [mm] a4.t α=90° [mm] a4.c [mm]
C1-50C118307560757540306.3
C1-62G-BC123379375939350388.7
C1-75G-BC1284611390113113604511.6
C1-95G-BC13457143114143143765716.6
C1-117G-BC14372176141176176947122.7
C3-73/130G-BC34067146117146146785917.1
C5-100G-BC52237150120150150806018
C5-130G-BC528471951561951951047826.6

Det angivna karakteristiska skjuvmotståndet per koppling, Rv,k beräknas enligt de minimidistanser som anges i denna tabell och för träkvalitet C24. Denna kapacitet kan ökan med en högre träkvalitet (se k3 faktor enligt EN1995). Denna kapacitet kan också minskas med lägre a3.t (se k2 faktor enligt EN1995). För lägre t1 eller t2, vänligen se EN1995. Det karakteristiska skjuvmotståndet för bult är inte inkluderat och bör läggas till.

Montage

Montage

Installation

  • Installeras genom att pressa samman trädelarna med hjälp av hydrauliskt pressverktyg. Använd INTE hammare för att slå in Bulldog i träet.
  • Installationen kräver brickor mellan bultskalle/mutter och trä.

Certifiering

Teknisk dokumentation DoP

CAD- och BIM-bibliotek

ZIP-paket

Buy from Distributor

No items available.

Contact

Simpson Strong-Tie Sverige

Simpson Strong-Tie AB

Bruksvägen 2
59375 Gunnebo
Sverige